欢迎访问泰州宅男视频下载机械制造有限公司官方网站!
宅男视频网站 列管式冷却器 宅男视频APP在线下载 宅男视频在线播放 油冷却器 冷却器







GL 系列冷却器
GLC 型冷却器
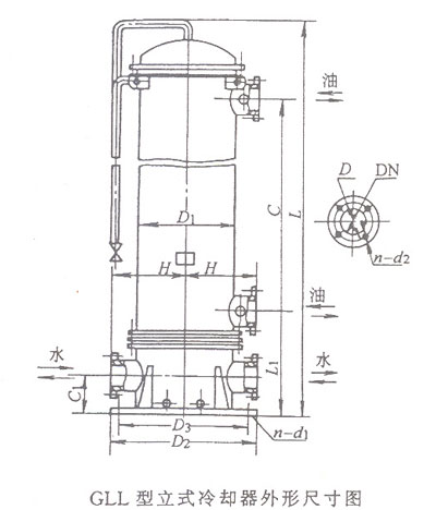
GLL 型立式冷却器
GLL 型卧式冷却器
GLQ型汽轮机配套冷却器
SGLL型双联卧式油冷却器
LQ 系列冷却器
2LQFW 型冷却器
2LQFL 型冷却器
2LQF6W 型冷却器
2LQF1W系列冷却器
2LQGW 型冷却器
4LQF3W 型冷却器
2LQF1L 型冷却器
LC 系列冷却器
SL旋流式冷却器
LQG系列船用冷却器
高效翅片冷却器
海水/船用冷却器
|